
Qzone
微博
微信
1月11日消息,据外媒报道,苹果近期申请了一项关于Apple Pencil的专利,专利文件显示,苹果计划在用户握笔处安装一款新型传感器,从而可实现手势输入等新功能。
在此之前,苹果已经在Apple Pencil 2上增加了双击触控功能,可以进行选择文件项目或是更改相关模式。现在看来,新一代Apple Pencil 3或许将会增加更多的触控传感器,从而带来更加丰富的触控、滑动等手势操作体验。
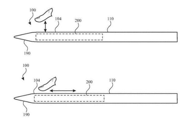
根据专利显示,苹果未来将会在Apple Pencil上安装摄像头、生物传感器和麦克风等,以实现全触觉感应控制功能。此外,用户还可通过特定的滑动手势进行复制、粘贴、撤销等功能,同时也能对Apple Pencil的工作模式进行更换,比如画笔的大小、硬度、颜色等。而用户可通过滚动手势对图片、操作界面进行放大或缩小,甚至能遥控外接设备。
据悉,苹果未来将会在Apple Pencil上安装多个触控传感器,每个传感器都会相互隔开,安置在不同区域,带来更加丰富的手势操作。
作者:NJ-蔡必成
电影界2022-05-25 20:1905-25 20:19
电影界2022-05-25 20:1505-25 20:15
电影界2022-05-25 20:1505-25 20:15
电影界2022-05-25 19:5705-25 19:57